找回密码
 立即注册
澳门威尼斯人
U8
U18
海燕招商
A
蓝盾
e世博
islot.
申博亚洲
B
开云
腾博会
德信
C级广告商
吉祥坊
华体会
查看: 27620|回复: 84

[真人] 【实战有奖】今天在申博娱乐城真人打出来收米90元

[复制链接]

3601

主题

6万

回帖

1001

金币

钻石用户

积分
195029

万时之王老会员勤奋勋章交易勋章

发表于 2025-11-18 10:23 | 显示全部楼层 |阅读模式

马上注册,结交更多好友,享用更多功能,让你轻松玩转社区。

您需要 登录 才可以下载或查看,没有账号?立即注册

×
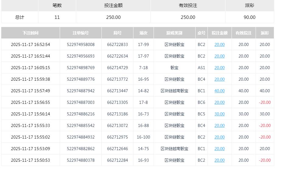
今天还是继续存款玩玩这个区块链色子了,最近玩这个游戏玩的还是很频繁的,今天的菠菜还是很给力的,开局命中率很高的,后面的下注玩起来就顺利很多了,最后的结果盈利90块钱,只要是能够做到赢钱就可以了,不输钱就可以了要求也不要太高了,菠菜就应该谨慎一点点慢慢来
4 }! J* @; n. o2 g) i) [! D' b* X/ ?
360截图20251118090255685.jpg 8 ]' }& C- E0 c1 q' T  u

; m, \% v) C) }9 I: t" J* a开局第一单下注大打出来123点数6输掉了,第二弹继续下注小打出来136点数10成功赢钱了,第三单继续下注小打出来346点数13输掉了,第四单继续下注小出来156点数12输掉了,第五单继续下注小打出来334点数10成功赢钱了,第六单继续下注小打出来245点数11输掉了,第七单继续下注大打出来445点数13成功赢钱了,第八单继续下注大打出来346点数13也是赢钱了,第九弹继续下注大打出来256点数13也是收米了,第十单继续下注小打出来134点数8成功赢钱了,11单继续下注小打出来235点数10也是赢钱了,连红5局还是很给力的了,最后的结果打出来90块钱的盈利,能够做到赢钱就可以了; t" v% B$ |9 u3 ^, q
360截图20251118090318949.jpg 360截图20251118090909342.jpg 360截图20251118090917060.jpg 360截图20251118090924923.jpg 5 E8 F. K: ?2 o; n+ n  c  x
2 n! h# N7 C& ?1 P/ Y9 n
今天的菠菜还是很给力的,开局下注玩起来还是顺利了,最后的结果打出来90块钱的盈利,能够做到赢钱已经很不错了,下次再玩就可以了,保住盈利不要输掉就可以了慢慢来吧,90块钱也可以接受的结果了,最近这个区块链色子玩的还是很成功的,今天的菠菜就这样吧* o. r7 |. H' o6 z& x

0 h1 }) n/ O4 U' t 360截图20251118090415630.jpg 2 }+ X. n4 B6 L; D3 u- s1 K( K6 m
) V0 X3 f# `9 J4 z4 I$ C6 p
回复

使用道具 举报

0

主题

869

回帖

1560

金币

铜牌用户

积分
5737

老会员

发表于 2025-11-18 10:38 | 显示全部楼层
运气不错的百家乐玩的结果有收益了,希望能够保持好运气
回复 支持 反对

使用道具 举报

141

主题

1万

回帖

2911

金币

金牌会员

积分
31008

老会员光影行者

发表于 2025-11-18 12:53 | 显示全部楼层
只要是能够收米,确实是很不错的,希望我们都能有个好的结果了。
回复 支持 反对

使用道具 举报

6

主题

9375

回帖

5582

金币

金牌会员

积分
38274

老会员光影行者

发表于 2025-11-18 15:12 | 显示全部楼层
连赢五局确实运气不错,保住盈利慢慢来是对的,这九十块挺实在了
回复 支持 反对

使用道具 举报

1211

主题

3万

回帖

612

金币

铂金用户

积分
90707

老会员交易勋章光影行者

发表于 2025-11-18 18:25 来自手机 | 显示全部楼层
看来今天你的胜率还是不错的了,最终也是有了好的结果的了
回复 支持 反对

使用道具 举报

1211

主题

3万

回帖

612

金币

铂金用户

积分
90707

老会员交易勋章光影行者

发表于 2025-11-18 18:25 来自手机 | 显示全部楼层
不是永远 发表于 2025-11-18 10:38
; b! Z$ e& \3 Q4 S: R  g! }1 t5 s9 V运气不错的百家乐玩的结果有收益了,希望能够保持好运气
# L# u# ^6 w$ [  y( D$ a. S: Y0 Q
只要有一个好的收获就是满意的了,而且同时还会继续加油的啦
回复 支持 反对

使用道具 举报

1211

主题

3万

回帖

612

金币

铂金用户

积分
90707

老会员交易勋章光影行者

发表于 2025-11-18 18:25 来自手机 | 显示全部楼层
海棠无香 发表于 2025-11-18 12:535 r) i: O5 g3 s7 i* P. L
只要是能够收米,确实是很不错的,希望我们都能有个好的结果了。
& T" V: u: R0 q* M4 T! e7 @
希望我们这样的运气可以继续保持下去了,那就会非常的美滋滋的了
回复 支持 反对

使用道具 举报

1211

主题

3万

回帖

612

金币

铂金用户

积分
90707

老会员交易勋章光影行者

发表于 2025-11-18 18:25 来自手机 | 显示全部楼层
bai 发表于 2025-11-18 15:12
- p  P1 G; E; Q& m+ L连赢五局确实运气不错,保住盈利慢慢来是对的,这九十块挺实在了
2 F& S; X; j: `" w: D! ^( J
的确是如此的了,我们还是要慢慢的保住自己的盈利的了
回复 支持 反对

使用道具 举报

101

主题

2647

回帖

752

金币

铜牌用户

积分
9148

交易勋章魅力达人

发表于 2025-11-18 18:52 | 显示全部楼层
楼主的运气还是不错的,又是盈利将近100元钱,而且胜率确实很高的,最后的一波。
回复 支持 反对

使用道具 举报

101

主题

2647

回帖

752

金币

铜牌用户

积分
9148

交易勋章魅力达人

发表于 2025-11-18 18:53 | 显示全部楼层
猴哥打野 发表于 2025-11-18 18:25
( v& k0 b3 T4 `# Y+ N& z的确是如此的了,我们还是要慢慢的保住自己的盈利的了
7 e0 G' [+ n& Z+ S5 g
我感觉楼主就是玩的比较稳妥,而且他的胜率确实非常的高
回复 支持 反对

使用道具 举报

625

主题

2万

回帖

3079

金币

铂金用户

积分
72601

老会员

发表于 2025-11-18 19:59 | 显示全部楼层
杯具 发表于 2025-11-18 18:52
+ j* Q  X) G4 p楼主的运气还是不错的,又是盈利将近100元钱,而且胜率确实很高的,最后的一波。 ...

/ p3 e3 t* O9 Z4 T8 Z5 Y+ X也是很棒的,这个战绩已经是很美丽,很舒服了的啊
回复 支持 反对

使用道具 举报

625

主题

2万

回帖

3079

金币

铂金用户

积分
72601

老会员

发表于 2025-11-18 19:59 | 显示全部楼层
杯具 发表于 2025-11-18 18:53' T5 g" G: ?& P* x! M
我感觉楼主就是玩的比较稳妥,而且他的胜率确实非常的高
  c1 C2 L& T* @$ P- }5 t. |
很不错,这个情况我们也是要懂得一个珍惜结果了的啊
回复 支持 反对

使用道具 举报

625

主题

2万

回帖

3079

金币

铂金用户

积分
72601

老会员

发表于 2025-11-18 19:59 | 显示全部楼层
可以收米了那么多,真的是很给力,恶核娜美 的啊
回复 支持 反对

使用道具 举报

7

主题

1万

回帖

6000

金币

千足金牌会员

积分
56470

光影行者

发表于 2025-11-18 20:19 | 显示全部楼层
开局连跪几把后稳住小注果然回血,这节奏拿捏得不错,90块赚得踏实
回复 支持 反对

使用道具 举报

7

主题

1万

回帖

6000

金币

千足金牌会员

积分
56470

光影行者

发表于 2025-11-18 20:19 | 显示全部楼层
laowanba 发表于 2025-11-18 19:59
% K- Z  y! T* x8 c# i+ W也是很棒的,这个战绩已经是很美丽,很舒服了的啊

; B! s3 N4 K2 F; t' W8 V$ P8 S0 K$ o这次手感确实顺,小赢90也够买杯奶茶乐一乐了
回复 支持 1 反对 0

使用道具 举报

您需要登录后才可以回帖 登录 | 立即注册

本版积分规则

广告合作|评测有奖|福利汇|论坛简介|钱包合集|手机版|小黑屋|Archiver|海燕论坛

快速回复 返回顶部 返回列表